Araçlar her geçen yıl daha fazla teknolojiyle donatıldıkça, bu sistemleri besleyen kablo tesisatları da giderek daha karmaşık, ağır ve maliyetli hale geliyor. Uzun zamandır büyük ve hantal yapılarıyla bilinen kablo demetleri, günümüzde modern araçların en önemli mühendislik sorunlarından biri olarak öne çıkıyor.
Mercedes-Benz ise özellikle bagaj kapağı ve arka bölümdeki bu karmaşayı azaltmak için oldukça sade bir çözüm üzerinde çalışıyor. Alman üretici, arka stop lambalarına giden kabloları azaltmayı hedefleyen yeni bir sistem için patent aldı.
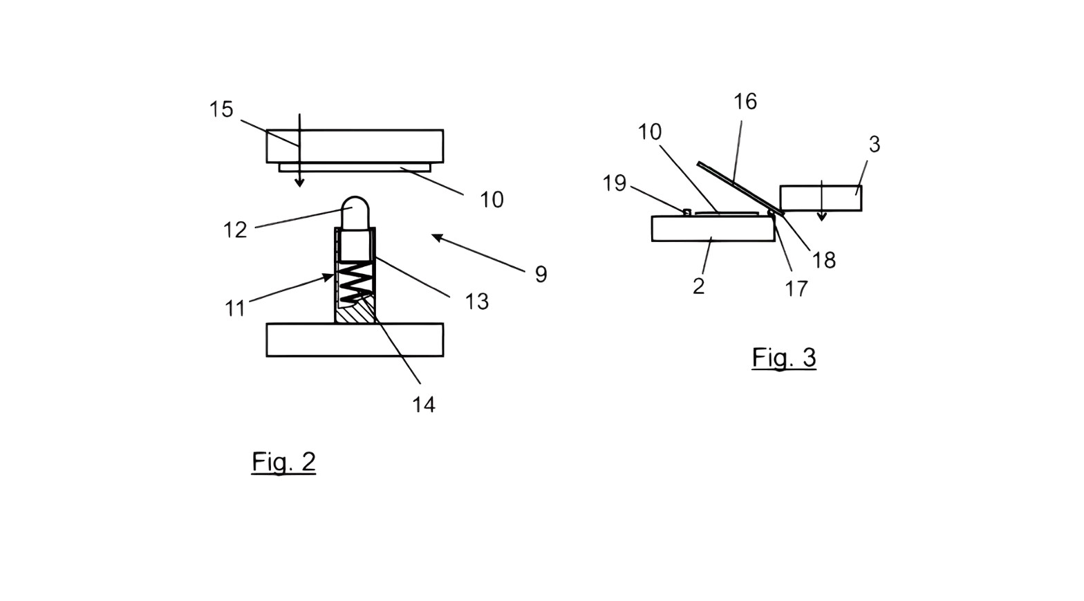
Mercedes’ten kablolara alternatif analog çözüm
Özellikle stop lambalarının bir kısmının bagaj kapağına entegre edildiği araçlarda, kabloların menteşe bölgelerinden geçmesi gerekiyor. Bu nedenle esnek kablo kılıfları kullanılıyor. Ancak bu kılıflar hem maliyeti artırıyor hem de zamanla arıza riski oluşturuyor. Mercedes’in önerdiği bu yeni sistem, söz konusu kablo ihtiyacını büyük ölçüde ortadan kaldırmayı amaçlıyor.
Patent görsellerinde, bagaj kapağı açıldığında stop lambaları ikiye ayrılan Mercedes GLS’ye benzeyen bir arka tasarım dikkat çekiyor. Bu yapı sayesinde, lambanın dış bölümünden iç kısımlarına enerji, yaylı temaslı anahtar aracılığıyla aktarılabiliyor. Böylece uzun ve hareketli kablolara gerek kalmadan daha kısa ve sade bir elektrik bağlantısı sağlanabiliyor.
En büyük soru işareti ise dayanıklılık. Bagaj kapakları toz, çamur ve kötü hava koşullarına en çok maruz kalan bölgeler arasında yer alıyor. Bu nedenle temas noktalarının uzun vadede sorunsuz çalışabilmesi için iyi korunması ve kendini temizleyebilen bir yapıya sahip olması gerekiyor. Aksi halde basit bir kir tabakası bile sistemin çalışmasını engelleyebilir.
Henüz seri üretimden uzak
Şu an için hiçbir Mercedes modelinde bu sistem kullanılmıyor. Bir patentin alınmış olması da bu teknolojinin mutlaka üretime geçeceği anlamına gelmiyor. Sistemin hem güvenilir hem de uzun ömürlü hale gelmesi için ciddi bir Ar-Ge çalışması gerekiyor. Bu da yakın vadede seri üretimde görmeyi zorlaştırıyor.
Mercedes-Benz, geçtiğimiz aralık ayında da far üretiminde yapıştırıcı kullanmayacağını açıklamıştı. Şirket, içerisinde bulunduğu bu dönüşüm ile araç bileşenlerini hem daha sürdürülebilir hem de daha kolay tamir edilebilir hale getirmeyi hedefliyor.
Bu haberi ve diğer DH içeriklerini, gelişmiş mobil uygulamamızı kullanarak görüntüleyin:
titanfall gerçek oluyor desenize
Tam teşekküllü işlevsel gerçek Mecha yapmak Japonlara değil de Çinlilere kısmetmiş.